Индивидуальная цена
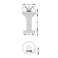
Геодезические марки и реперы в Краснодаре
Сначала популярные
Фильтры
Индивидуальная цена
Индивидуальная цена
Индивидуальная цена
Индивидуальная цена
Загрузка...
Сложно сделать выбор?
Мы поможем!
Закажите обратный звонок
Или звоните
8-800-551-11-01






















